KS型鏈式刮板輸送機底部襯板改進的探討
KS型鏈式刮板輸送機底部襯板改進的探討-輸送機生產廠家 整機質保1年 13353676726

我們所承擔經濟合作并經營的老撾水泥廠,輸送輔機中有4臺KS型鏈式刮板輸送機,運行中由于在殼體內的底襯板(鑄石襯板)用水泥鑲砌的接縫界面處常被刮裂分開,由刮板帶進了熟料庫,造成事故,使該設備的使用壽命降低,停機率上升,有時高達27%,為了完成生產任務,不得已而拼設備,地處他國,備品件尚缺)使各機件磨損嚴重為了解決這一難題,我們對該設備作了改進取得了好的效果。
1、事故原因
按常理輸送輔機的一般性故障,經常發生在結構件磨損,傳動部分的同軸度誤差,定心不準等方面,而KS型鏈式刮板輸送機,除動力傳動部外,主要工作件為鏈傳動,每一跨度間距均有鏈輪支承,帶動鏈條及刮板做直線運動刮板接觸底面為水平鋪設的鑄石襯板,該機按理也是較為理想的輸送物料的設備,但出現故障卻反而較頻,究其原因:由于鑄石襯板有的部位無規則不平整和失落,而導致:
(1)損壞刮板和鏈條;
(2)鏈輪非正常磨損;
(3)經常發生鏈條跳槽停機現象問題產生的主要原因就是底部鑄石襯板分小區域不平,刮板在有撓度的底板上運行產生徑向跳動,而造成上述不利狀況我們對鑄石襯板失落分析的結果是:該設備輸送熟料溫度較高約300℃,加之氣溫也高,鑄石板間鑲砌的界面,在高溫運行的環境下易龜裂,而刮板運動接觸撞擊,促使松動的襯板分離而刮失造成底板部分不平和棱角。
2、技術改造效果
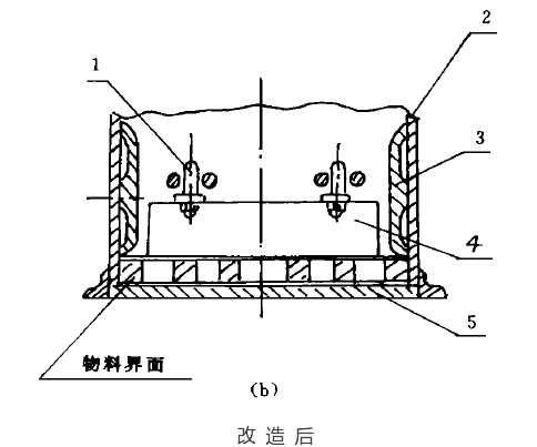
根據上述幾種情況的分析,我們就地取材,利用方條型鋼16×14,沿軸線長度方向進行鋪設,基于物料和金屬材料的導熱關系,考慮了型材的線膨脹量,并同時給輸送的物料放置一個空間,使型鋼按一定間距排列,在入口斷面的交界處使型材制成一個坡口,呈三角狀改造前后見圖,由此可見:
(1)結構簡單易行,焊接量小,用材料較少,經濟實惠。
(2)易于檢修和更換,無需砌筑。
(3)由于物料有了填充空間,實際上刮板與型材間形成了由熟料組成的襯膜,刮板輸送熟料時與襯模接觸對底鋼材起到保護作用,磨損就明顯減小了。
改造過的鏈式輸送刮板機,運行幾個月來效果較好;改造前平均每月要檢修兩次,而現在每兩個月檢修時,只需調整一下鏈條就可以投入正常使用,大大降低了停機率。
刮板輸送機廠家提示:請通過正規渠道購買奧創刮板輸送機,以保障您的合法權益!
訂購網址請登錄河南奧創機械有限公司官方網站:www.seekit.com.cn 24小時服務熱線:13353676726


